已连续4年未披露偿付能力的珠江人寿,近日因一则招聘启事引发了市场关注。

据智联招聘消息,珠江人寿正公开招聘包含总经理在内的高级管理人员。

市场化“海选”的高管选拔方式在保险业并不罕见。尤其竞争加剧的近两年,渤海人寿、光大永明人寿、浙商财险等险企都面向社会公开招聘,引入新鲜血液推动转型破局。

珠江人寿的特殊之处在于,本次“海选”岗位众多,涉及总经理、财务负责人、董秘、首席投资官、首席合规官,几乎已经涉及了完整的高管团队。

信风注意到,2021年四季度,珠江人寿高管团队仍有总经理、副总经理等10名成员,如今仅有副总经理李翔、总经理助理徐庆、总精算师谷小春、审计负责人蔡军4名成员,可见未披露业绩的4年时间里,其高管已严重流失。

打开网易新闻 查看精彩图片

智联招聘显示,该公司新聘总经理需要在55周岁以下,有寿险全面管理经验者优先,职责包括战略引领与业务发展、公司治理与合规监管、组织管理与团队建设等等;

同时总经理需要统筹偿付能力管理,确保公司偿付能力充足率持续达标,优化资本配置效率,防范流动性风险、市场风险及声誉风险。

截至最后一次披露偿付能力的2021年四季度末,珠江人寿的核心、综合偿付能力充足率分别为52.02%、104.04%,风险综合评级为C类,而监管的底线要求为50%、100%、C类;

此后珠江人寿再未披露相关信息,进入事实上的风险处置静默期。

自成立以来,珠江人寿业绩表现始终平平。

2012-2021年营收持续扩大、但利润表现不佳,只在2015-2016年实现过盈利,10年之间累计亏损9亿元,内源性资本补充能力不佳。

打开网易新闻 查看精彩图片

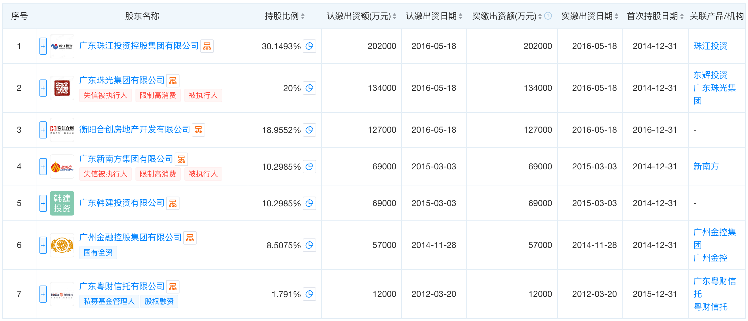
迟迟无法“脱险”的另一个原因,或是股东在自身的流动性压力下,无法给予珠江人寿支持。

目前该公司已经有三位股东质押了共27.67亿股股权,占总股权比重高达41.3%;其中,质押了全部股权的广东珠光集团、广东新南方集团都已成为失信被执行人。

打开网易新闻 查看精彩图片
打开网易新闻 查看精彩图片

从目前的管理团队组建情况与股权治理情况看,珠江人寿距离成功化险、“走上正轨”,或许还有一段距离。