蓝鲸新闻3月4日讯(记者 金磊)京东资产交易平台显示,福建省信通投资集团股份有限公司(下称"信通集团")持有的福建华通银行6650万股股权将于3月16日在该平台公开拍卖,起拍价超4200万元。

评估报告显示,福建华通银行6650万股份在评估基准日(2025 年 5 月 21 日)的评估价值为6026 万元,起拍价较评估价打约七折,为4218.2万元。而这笔拍卖的背景为北京市朝阳区人民法院拟司法执行财产处置涉及的福建省信通投资集团股份有限公司持有的福建华通银行股份有限公司。

据了解,华通银行成立于2017年1月,注册资本24亿元,是我国第二批试点的民营银行之一,由永辉超市、阳光控股、福建兴衡投资有、盼盼生物科技、三棵树涂料、三盛房地产、圣龙食品、信通投资八家民营业企业共同发起设立。其中,永辉超市、阳光控股分别持有该行29.8%、26.25%股权,位列前两大股东,其余股东持股比例均低于10%。

自成立以来,华通银行注册资本保持24亿元不变,8名股东未发生变动,但股东间的持股比例有所变化。

信通集团原持有华通银行8.85%股权,曾为第四大股东。该行2023年财报披露,信通投资持股数下降至如今的2.27%,对应的股份被永辉超市、盼盼生物、三棵树、圣农食品其他三家股东所获得。

若此次信通集团持有的股份成功被拍卖,这也意味着信通集团将退出华通银行的股东名单,不管接盘方是否为目前股东,这也将是华通银行成立以来首次有股东退出。

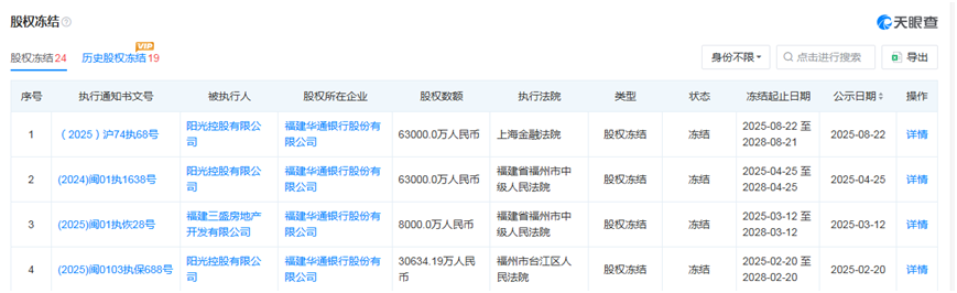
除了信通集团外,华通银行还有多位股东存在债务问题。据天眼查APP显示,该行第二大股东阳光控股有限公司为失信被执行人;第六大股东福建三盛房地产开发有限公司为被执行人。目前,第二大股东阳光控股所持全部股权悉数被冻结,福建三盛房地产持有的该行7%股权也被冻结。

打开网易新闻 查看精彩图片

蓝鲸新闻注意到,2023年5月,华通银行因股权管理不到位等原因被罚款100万元。

当时处罚通告显示,华通银行因股权管理不到位违反了《商业银行股权管理暂行办法》第十条、第十二条、第十五条、第二十九条,《中华人民共和国银行业监督管理法》第二十一条、第四十六条第(五)项。查询相关法规发现,上述条款主要涉及股东出资来源、股权代持和一致行动人协议等内容。

2025年上半年华通银行实现营业收入4.49亿元,同比增长8.45%;实现净利润1.29亿元,同比增长21.70%。

而华通银行贷款主要以个人为主,尤其是个人消费贷。据该行2024年年报,截至2024年末,福建华通银行发放贷款和垫款242.08亿元,其中,个人消费贷余额约199.63亿元。